産品中心
PRODUCTS CENTER
當前位置:首頁
産品中心
單級泵 >
ISGB便拆式管道泵 > ISGB便拆式管道泵

産品分類
相關文章
上銳ISGB便拆式管道泵産品概述:
上銳 ISGB便拆式管道泵是在ISG型泵的基礎上開發成功的一種結構新穎、技術成熟的産品。是在整體結構上進行大膽突破設計。採用獨立軸承體、泵軸支撐,解決瞭原來立式泵靠電機軸承支撐的不足之處;採用優秀水力模型的葉輪,消除瞭原立式泵軸向力大的不足之處;電機採用Y系列标準通用電機,解決原立式泵加長軸電機配套更換難的問題;同100%的便拆結構,解決瞭更換大功率水泵的軸承、機械密封、葉輪、泵軸的難題。與同類産品相比,具有運轉更平穩、使用壽命長、配套更方便、維護保養更輕松等等,無可代替的優點。各項技術成熟,是替代ISG型立式泵、IS型離心泵、S型雙吸泵等常規各種離心泵的理想産品。
ISGB便拆式管道泵産品特點:
1、立式結構,安裝調試方便,獨特設計的電機和泵體採用聯接體聯接,同心度高、加工精度高,占地面積大大減少,縮減瞭泵房建築投資30%一60%。底腳穩固、結構緊湊、精美的鑄造和外觀處理賦予立式離心泵新的美感,使産生品煥發藝術的魅力,可以和國外廠家立式泵媲美。
2、配用國内著名廠家生産的Y系列标準通用電機,運行平穩、噪音極低。
3、軸承採用品牌精密軸承,精度高、可靠性好、壽命長。
4、葉輪採用90年代優秀可自平衡軸向力的水力模型,使得泵軸承和機械密封使用壽命大大延長。
5、電機軸承座内的軸承都配有加油孔和放油孔,對軸承的維護保養十分方便。
6、可拆卸硬性中間聯軸器,使泵起動無振動、無噪音,旋轉部件設有可靠的安全防護罩,安全性極好。
7、機械密封採用不鏽鋼、碳化鎢、氟橡膠等材料制成,耐高溫、高壓,運行壽命長,無滲漏,對軸無磨損,保證工作環境整潔。
8、泵蓋結構設計獨特,隻要卸下硬性中間聯軸器、泵蓋螺母,即可十分輕便取出軸承座。泵蓋、泵軸、葉輪等組合件,進行更換機械密封和葉輪,而不必拆卸電機、泵體和管道,維修方便快捷。
ISGB便拆式管道泵工作條件:
1、泵系統最高工作壓力爲1.6MPa,即泵吸入口壓力+泵揚程≤1.6MPa(泵揚程工作壓力大於1.6MPa時應在訂貨另行提出,以便在制造時泵的過流部件和聯接部件採用鑄鋼)。
2、輸送介質爲清水或物理化學性質類似清水的其它液體。(輸送介質帶有細小顆粒的應在訂貨時另行說明,以便裝配耐磨式機械密封)。
3、環境溫度≤40℃,海拔高度≤1000m,相對濕度≤95%。
ISGB便拆式管道泵運行中的維護與保養
1、迸水管路必須高度密封。
2、禁止泵在汽蝕狀态下長期運行。
3、禁止泵在大流量運行時,電機超電流長期運行。
4、定時檢査泵運行中電機電流值,不得超過電機額定電流。
5、泵在運行過程中應有專人看管,以免發生意外。
6、泵每運行500小時應對軸承迸行加油。電機功率大於11KW配有加油裝置.可用高壓油槍直接注入,以保證軸承潤滑優良。
7、泵迸行長期運行後,由於機械磨損,使機組噪聲及振動增大吋,應停車檢査,必要吋可更換易損零件及軸承,機組大修期一般爲一年。
ISGB便拆式管道泵機械密封維護與保養
1-機械密封潤滑應清潔無固體顆粒。2、嚴禁機械密封在幹磨惰況下工作。
3、起動前應盤動泵(電機)幾圈,以免突然起動造成密封環斷裂損壞。
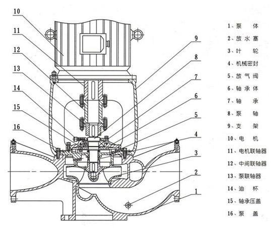
ISGB便拆式管道泵産品結構圖:

性能參數
| 型 号 | 流 量Q | 揚程 (m) | 效率 (%) | 轉 速 (r/min) | 電機 功率 (kW) | 必需汽 蝕餘量 (NPSH)r | 重量 (kg) | 型 号 | 流 量Q | 揚程 (m) | 效率 (%) | 轉 速 (r/min) | 電機 功率 (kW) | 必需汽 蝕餘量 (NPSH)r | 重量 (kg) | ||
| (m3/h) | (L/s) | (m3/h) | (L/s) | ||||||||||||||
| 15-80 | 1.1 1.5 2.0 | 0.3 0.42 0.55 | 8.5 8 7 | 26 34 34 | 2800 | 0.18 | 2.3 | 17 | 40-160(I) | 8.8 12.5 16.3 | 2.44 3.47 4.53 | 33 32 30 | 45 52 51 | 2900 | 3 | 2.3 | 56 |
| 20-110 | 1.8 2.5 3.3 | 0.5 0.69 0.91 | 16 15 13.5 | 25 34 35 | 2800 | 0.37 | 2.3 | 25 | 40-160(I)A | 8.2 11.7 15.2 | 2.28 3.25 4.22 | 29 28 26 | 44 51 50 | 2900 | 2.2 | 2.3 | 47 |
| 20-160 | 1.8 2.5 3.3 | 0.5 0.69 0.91 | 33 32 30 | 19 25 23 | 2900 | 0.75 | 2.3 | 29 | 40-160(I)B | 7.3 10.4 13.5 | 2.38 2.89 3.75 | 23 22 20.5 | 50 | 2900 | 1.5 | 2.3 | 43 |
| 25-110 | 2.8 4 5.2 | 0.78 1.11 1.44 | 16 | 34 42 41 | 2900 | 0.55 | 2.3 | 26 | 40-200(I) | 8.8 12.5 16.3 | 2.44 3.47 4.53 | 51 2.50 48 | 38 46 46 | 2900 | 5.5 | 2.3 | 85 |
| 25-125 | 2.8 4 5.2 | 0.78 1.11 1.44 | 20.6 20 18 | 28 36 35 | 2900 | 0.75 | 2.3 | 28 | 40-200(I)A | 8.3 11.7 15.3 | 2.31 3.25 4.25 | 45 0.44 42 | 37 45 45 | 2900 | 4 | 2.3 | 75 |
| 25-125A | 2.5 3.6 4.6 | 0.69 1.0 1.28 | 17 16 14.4 | 35 | 2900 | 0.55 | 2.3 | 27 | 40-200(I)B | 7.5 10.6 13.8 | 2.08 2.94 3.83 | 37 36 34 | 44 | 2900 | 3 | 2.3 | 63 |
| 25-160 | 2.8 4 5.2 | 0.78 1.11 1.44 | 33 32 30 | 24 32 33 | 2900 | 1.5 | 2.3 | 39 | 40-250(I) | 8.8 12.5 16.3 | 2.44 3.47 4.53 | 81.2 80 77.5 | 31 38 40 | 2900 | 11 | 2.3 | 145 |
| 25-160A | 2.6 3.7 4.9 | 0.12 1.03 1.36 | 29 28 26 | 31 | 2900 | 1.1 | 2.3 | 34 | 40-250(I)A | 8.2 11.6 15.2 | 2.28 3.22 4.22 | 71.0 70 68 | 38 | 2900 | 7.5 | 2.3 | 95 |
| 32-100 | 4.5 | 12.5 | 12.5 | 44 | 2900 | 0.55 | 2.0 | 27 | 40-250(I)B | 7.6 1.0 8 14 | 2.11 3.0 3.89 | 61.4 60 58 | 37 | 2900 | 5.5 | 2.3 | 94 |
| 32-100(I) | 4.4 6.3 8.3 | 1.22 1.75 2.32 | 13.2 12.5 11.3 | 48 54 53 | 2900 | 0.175 | 2.0 | 32 | 40-250(I)C | 7.1 10.0 13.1 | 1.97 | 53.2 52 50.4 | 36 | 2900 | 5.5 | 2.3 | 88 |
| 32-125 | 3.5 5 6.5 | 0.97 1.39 1.8 | 22 20 18 | 40 44 42 | 2900 | 0.75 | 2.3 | 28 | 50-100 | 8.8 12.5 16.3 | 2.44 3.47 4.53 | 13.6 12.5 11.3 | 55 62 60 | 2900 | 1.1 | 2.3 | 36 |
| 32-125A | 3.1 4.5 5.8 | 0.86 1.25 1.61 | 17.6 16 14.4 | 43 | 2900 | 0.55 | 2.3 | 28 | 50-100A | 8 11 14.5 | 2.22 3.05 4.03 | 11 10 9 | 60 | 2900 | 0.75 | 2.3 | 35 |
| 32-160 | 6.5 | 5 | 32 | 44 | 2900 | 1.5 | 2.3 | 39 | 50-125 | 8.8 12.5 16.3 | 2.44 3.47 4.53 | 21.5 20 17.8 | 49 58 57 | 2900 | 1.5 | 2.3 | 43 |
| 32-160A | 4 | 1.1 | 25 | 34 | 2900 | 1.1 | 2.0 | 38 | 50-125A | 8 11 14.5 | 2.22 3.05 4.03 | 17 16 14 | 57 | 2900 | 1.1 | 2.3 | 38 |
| 32-160(I) | 4.4 6.3 8.3 | 1.22 1.75 2.32 | 33.2 32 30.2 | 34 40 42 | 2900 | 2.2 | 2.0 | 47 | 50-160 | 8.8 12.5 16.3 | 2.44 3.47 4.53 | 33 32 30 | 45 52 51 | 2900 | 3 | 2.3 | 59 |
| 32-200 | 4.5 | 12.5 | 50 | 32 | 2900 | 3 | 2.0 | 55 | 50-160A | 8.2 11.7 15.2 | 2.28 3.25 4.22 | 29 28 26 | 44 51 50 | 2900 | 2.2 | 2.3 | 51 |
| 32-200(I) | 4.4 6.3 8.3 | 1.22 | 50.5 50 48 | 26 33 35 | 2900 | 4 | 2.0 | 43 | 50-160B | 7.3 10.4 13.5 | 2.38 2.89 3.75 | 23 22 20.5 | 50 | 2900 | 1.5 | 2.3 | 47 |
| 32-200(A) | 2.8 4 5.2 | 0.78 1.11 1.44 | 44.6 44 42.7 | 34 40 42 | 2900 | 2.2 | 2.0 | 74 | 50-200 | 8.8 12.5 16.3 | 2.44 3.47 4.53 | 52 50 48 | 38 46 46 | 2900 | 5.5 | 2.3 | 101 |
| 40-100 | 4.4 6.3 8.3 | 1.22 1.75 2.31 | 13.2 12.5 11.3 | 48 54 53 | 2900 | 0.55 | 2.3 | 32 | 50-200A | 8.3 11.7 15.3 | 2.31 3.25 4.25 | 45.8 44 42 | 37 45 45 | 2900 | 4 | 2.3 | 80 |
| 40-100A | 3.9 5.6 7.4 | 1.08 1.56 2.06 | 10.6 10 9 | 52 | 2900 | 0.37 | 2.3 | 32 | 50-200B | 7.5 10.6 13.8 | 2.08 2.94 3.83 | 37 36 34 | 44 | 2900 | 3 | 2.3 | 68 |
| 40-125 | 4.4 6.3 8.3 | 1.22 1.75 2.31 | 21 20 18 | 41 46 43 | 2900 | 1.1 | 2.3 | 34 | 50-250 | 8.8 12.5 16.3 | 2.44 3.47 4.53 | 82 | 29 38 40 | 2900 | 11 | 2.3 | 160 |
| 40-125A | 3.9 5.6 7.4 | 1.08 1.56 2.06 | 17.6 16 14.4 | 40 45 41 | 2900 | 0.75 | 2.3 | 33 | 50-250A | 8.2 11.6 15.2 | 2.28 3.22 4.22 | 71.5 70 68 | 38 | 2900 | 7.5 | 2.3 | 115 |
| 40-160 | 4.4 6.3 8.3 | 1.22 1.75 2.31 | 33 32 30 | 35 40 40 | 2900 | 2.2 | 2.3 | 47 | 50-250B | 7.6 10.8 14 | 2.11 3.0 3.89 | 61.4 60 58 | 37 | 2900 | 5.5 | 2.3 | 114 |
| 40-160A | 4.1 5.9 7.8 | 1.14 1.64 2.17 | 29 28 26.3 | 34 | 2900 | 1.5 | 2.3 | 43 | 50-250C | 7.1 10.0 13.1 | 1.97 2.78 3.64 | 53.2 52 50.4 | 36 | 2900 | 5.5 | 2.3 | 108 |
| 40-160B | 3.8 5.5 7.2 | 1.06 1.53 2. | 25.5 24 22.5 | 34 | 2900 | 1.1 | 2.3 | 38 | 50-100(I) | 17.5 25 32.5 | 4.86 6.94 9.03 | 13.7 12.5 10.5 | 67 69 69 | 2900 | 1.5 | 2.5 | 41 |
| 40-200 | 4.4 6.3 8.3 | 1.22 1.75 2.31 | 51 50 48 | 26 33 32 | 2900 | 4 | 2.3 | 74 | 50-100(I)A | 15.6 22.3 29 | 4.3 6.19 8.1 | 11 10 8.4 | 65 67 68 | 2900 | 1.1 | 2.5 | 36 |
| 40-200A | 4.1 5.9 7.8 | 1.14 1.64 2.17 | 45 44 42 | 26 | 2900 | 3 | 2.3 | 62 | 50-125(I) | 17.5 25 32.5 | 4.86 6.94 9.03 | 21.5 20 18 | 60 68 67 | 2900 | 3 | 2.5 | 56 |
| 40-200B | 3.7 5.3 7.0 | 1.03 1.47 1.94 | 38 36 34.5 | 29 | 2900 | 2.2 | 2.3 | 52 | 50-125(I)A | 15.6 22.3 29 | 4.33 6.19 8.1 | 17 16 13.6 | 58 66 65 | 2900 | 2.2 | 2.5 | 48 |
| 40-250 | 4.4 6.3 8.3 | 1.22 1.75 2.31 | 82 80 74 | 24 | 2900 | 7.5 | 2.3 | 105 | 50-160(I) | 17.5 25 32.5 | 4.68 6.94 9.03 | 34.4 32 27.5 | 54 63 60 | 2900 | 4 | 2.5 | 72 |
| 40-250A | 4.1 5.9 7.8 | 1.14 1.64 2.17 | 72 70 65 | 24 28 27 | 2900 | 5.5 | 2.3 | 98 | 50-160(I)A | 16.4 23.4 30.4 | 4.56 6.5 8.44 | 30 28 24 | 54 62 59 | 2900 | 3 | 2.5 | 71 |
| 40-250B | 3.8 5.5 7.0 | 1.06 1.53 1.94 | 61.5 60 56 | 23 27 26 | 2900 | 4 | 2.3 | 77 | 50-160(I)B | 15.0 21.6 28 | 4.17 6.0 7.78 | 26 24 20.6 | 58 | 2900 | 2.2 | 2.5 | 59 |
| 40-100(I) | 8.8 12.5 16.3 | 2.44 3.47 4.53 | 13.2 12.5 11.3 | 55 62 60 | 2900 | 1.1 | 2.3 | 34 | 50-200(I) | 17.5 25 32.5 | 4.86 6.94 9.03 | 52.7 50 45.5 | 49 58 59 | 2900 | 7.5 | 2.5 | 108 |
| 40-100(I)A | 8 11 14.5 | 2.22 3.05 4.03 | 10.6 10 9 | 60 | 2900 | 0.75 | 2.3 | 32 | 50-200(I)A | 16.4 23.5 30.5 | 4.56 6.53 8.47 | 46.4 44 40 | 48 57 58 | 2900 | 5.5 | 2.5 | 107 |
| 40-125(I) | 8.8 12.5 16.3 | 2.44 3.47 4.53 | 21.2 20 17.8 | 49 58 57 | 2900 | 1.5 | 2.3 | 38 | 50-200(I)B | 15.2 21.8 28.3 | 4.22 6.06 7.86 | 40 38 34.5 | 55 | 2900 | 4 | 2.5 | 100 |
| 40-125(I)A | 8 11 14.5 | 2.22 3.05 4.03 | 17 16 14 | 57 | 2900 | 1.1 | 2.3 | 33 | 50-250(I) | 17.5 25 32.5 | 4.86 6.94 9.03 | 82 80 76.5 | 39 50 52 | 2900 | 15 | 2.5 | 175 |
| 型 号 | 流 量Q | 揚程 (m) | 效率 (%) | 轉 速 (r/min) | 電機 功率 (kW) | 必需汽 蝕餘量 (NPSH)r | 重量 (kg) | 型 号 | 流 量Q | 揚程 (m) | 效率 (%) | 轉 速 (r/min) | 電機 功率 (kW) | 必需汽 蝕餘量 (NPSH)r | 重量 (kg) | ||
| (m3/h) | (L/s) | (m3/h) | (L/s) | ||||||||||||||
| 50-250(I)A | 16.4 23.4 30.5 | 4.56 6.5 8.47 | 71.5 70 67 | 39 50 52 | 2900 | 11 | 2.5 | 165 | 65-250(I)B | 30 43.3 56 | 8.3 12.0 15.6 | 62 60 54 | 58 | 2900 | 15 | 3.0 | 180 |
| 50-250(I)B | 15 21.6 28 | 4.17 6.0 7.78 | 61 60 57.4 | 38 49 54 | 2900 | 7.5 | 2.5 | 165 | 65-315(I) | 35 50 65 | 9.72 13.9 18.1 | 128 | 44 | 2900 | 37 | 3.0 | 350 |
| 50-315(I) | 17.5 25 32.5 | 4.86 6.94 9.03 | 128 125 122 | 30 40 44 | 2900 | 30 | 2.5 | 310 | 65-315(1)A | 32.5 46.5 60.5 | 9.0 12.9 16.8 | 112.6 110 106.4 | 43 54 57 | 2900 | 30 | 3.0 | 335 |
| 50-315(I)A | 16.6 23.7 31 | 4.61 6.58 8.6 | 115 113 110 | 30 40 44 | 2900 | 22 | 2.5 | 245 | 65-315(1)B | 31 44.5 58 | 8.6 12.4 16.1 | 102.5 100 98 | 53 | 2900 | 30 | 3.0 | 335 |
| 50-315(I)B | 15.7 22.5 29.2 | 4.36 6.25 8.0 | 103 101 98 | 39 | 2900 | 18.5 | 2.5 | 215 | 65-315(I)C | 29 41 53.6 | 8.1 11.4 14.9 | 87 85 83 | 51 | 2900 | 22 | 3.0 | 270 |
| 50-315(I)C | 14.4 20.6 26.8 | 4.0 5.72 7.44 | 86 85 83 | 38 | 2900 | 15 | 2.5 | 195 | 80-100 | 35 50 65 | 9.72 13.9 18.1 | 13.8 12.5 10 | 67 73 70 | 2900 | 3 | 3.0 | 63 |
| 65-100 | 17.5 25 32.5 | 4.86 6.94 9.03 | 13.7 12.5 10.5 | 67 69 69 | 2900 | 1.5 | 2.5 | 46 | 80-100A | 31.3 44.7 58 | 8.7 12.5 16.1 | 11 10 8 | 66 72 69 | 2900 | 2.2 | 3.0 | 54 |
| 65-100A | 15.6 22.3 29 | 4.3 6.19 8.1 | 11 10 8.4 | 65 67 68 | 2900 | 1.1 | 2.5 | 41 | 80-125 | 35 50 65 | 9.72 13.9 18.1 | 22 20 17 | 67 72.5 70 | 2900 | 5 5 | 3.0 | 99 |
| 65-125 | 17.5 25 32.5 | 4.86 6.94 9.03 | 21.5 | 60 68 67 | 2900 | 3 | 2.5 | 58 | 80-125A | 31.3 45 58 | 8.7 12.5 16.1 | 17.5 16 13.6 | 66 71 69 | 2900 | 4 | 3.0 | 79 |
| 65-125A | 15.6 22.3 29 | 4.33 6.19 8.1 | 17 16 14.4 | 58 66 65 | 2900 | 2.2 | 2.5 | 49 | 80-160 | 35 50 65 | 9.72 13.9 18.1 | 35 32 28 | 63 71 70 | 2900 | 7.5 | 3.0 | 105 |
| 65-160 | 17.5 25 32.5 | 4.86 6.94 9.03 | 34 4 32 27.5 | 54 63 60 | 2900 | 4 | 2.5 | 75 | 80-160A | 32.7 46.7 61 | 9.1 13.0 16.9 | 30.6 28 24 | 62 70 69 | 2900 | 5.5 | 3.0 | 105 |
| 65-160A | 16.4 23.4 30.4 | 4.56 6.5 8.44 | 30 28 24 | 54 | 2900 | 3 | 2.5 | 75 | 80-160B | 30.3 43.3 56.3 | 8.4 12.0 15.6 | 26 | 69 | 2900 | 4 | 3.0 | 98 |
| 65-160B | 15.0 21.6 28 | 4.17 6.0 7.78 | 26 24 20.6 | 58 | 2900 | 2.2 | 2.5 | 63 | 80-200 | 35 50 65 | 9.72 13.9 18.1 | 53.5 50 46 | 55 67 68 | 2900 | 15 | 3.0 | 175 |
| 65-200 | 17.5 25 32.5 | 4.86 6.94 9.03 | 52.7 50 45.5 | 49 58 59 | 2900 | 7.5 | 2.5 | 107 | 80-200A | 32.8 47 61 | 9.1 13.1 16.9 | 47 44 40 | 54 | 2900 | 11 | 3.0 | 165 |
| 65-200A | 164 23.5 30.5 | 4.56 6.53 8.47 | 46.4 44 40 | 48 57 58 | 2900 | 5.5 | 2.5 | 107 | 80-200B | 30.5 43.5 56.6 | 8.5 12.1 15.7 | 40.6 38 33.4 | 65 | 2900 | 7.5 | 3.0 | 115 |
| 65-200B | 15.2 21.8 28.3 | 4.22 6.06 7.86 | 40 38 34.5 | 55 | 2900 | 4 | 2 5 | 100 | 80-250 | 35 50 65 | 9.72 13.9 18.1 | 83 80 72 | 52 59 60 | 2900 | 22 | 3.0 | 240 |
| 65-250 | 17.5 25 32.5 | 4.86 6.94 9.03 | 82 80 76.5 | 39 50 52 | 2900 | 15 | 2.5 | 180 | 80-250A | 32.5 46.7 61 | 9.0 13.0 16.9 | 73 70 63 | 52 59 60 | 2900 | 18.5 | 3.0 | 210 |
| 65-250A | 16.4 23.4 30.5 | 4.56 6.5 8.47 | 71.5 70 67 | 39 50 52 | 2900 | 11 | 2.5 | 170 | 80-250B | 30 43.3 56 | 8.3 12.0 15.6 | 62 60 54 | 58 | 2900 | 15 | 3.0 | 185 |
| 65-250B | 15 21.6 28 | 4.17 | 61 60 57.4 | 38 49 54 | 2900 | 7.5 | 2.5 | 170 | 80-315 | 35 50 65 | 9.72 13.9 18.1 | 128 125 122 | 43 54 57 | 2900 | 37 | 3.0 | 355 |
| 65-315 | 17.5 25 32.5 | 4.86 6.94 9.03 | 127 125 122 | 32 40 44 | 2900 | 30 | 2.5 | 320 | 80-315A | 32.5 46.5 60.5 | 9.0 12.9 16.8 | 112.6 110 107.4 | 43 54 57 | 290 | 30 | 3.0 | 340 |
| 65-315A | 16.6 23.7 31 | 4.61 6.58 8.6 | 115 113 110 | 32 40 44 | 2900 | 22 | 2.5 | 255 | 80-315B | 31 44.5 58 | 8.6 12.4 16.1 | 102.5 100 98 | 53 | 2900 | 30 | 3.0 | 340 |
| 65-315B | 15.7 22.5 29.2 | 4.36 6.25 8.0 | 103 101 98 | 39 | 2900 | 18.5 | 2.5 | 225 | 80-315C | 29 41 53.6 | 8.1 11.4 14.9 | 98 85 83 | 51 | 2900 | 22 | 3.0 | 275 |
| 65-315C | 144 20.6 26.8 | 4.0 5.72 7.44 | 86 85 83 | 38 | 2900 | 15 | 2 5 | 205 | 80-350 | 35 50 65 | 9.72 13.9 18.1 | 146 150 142 | 55 66 67 | 2900 | 55 | 3.0 | 570 |
| 65-100(I) | 35 50 65 | 9.72 13.9 18.1 | 13.8 12.5 10 | 67 73 70 | 2900 | 3 | 3 0 | 63 | 80-350A | 31 44.5 58 | 8.6 | 138.4 142 134.8 | 65 | 2900 | 45 | 3.0 | 470 |
| 65-100(I)A | 31.3 44.7 58 | 8.7 12.4 16.1 | 11 10 8 | 66 72 69 | 2900 | 2.2 | 3 0 | 53 | 80-350B | 29 41 53.6 | 8.1 11.4 14.9 | 131.4 135 127.8 | 63 | 2900 | 37 | 3.0 | 440 |
| 65-125(1) | 35 50 65 | 9.72 13.9 18.1 | 22 20 17 | 67 | 2900 | 5.5 | 3.0 | 99 | 80-100(1) | 70 100 130 | 19.4 27.8 36.1 | 13.6 12.5 11 | 66 76 75 | 290 | 5.5 | 4.5 | 108 |
| 65-125(I)A | 31.3 45 58 | 8.7 12.5 16.1 | 17.5 16 13.6 | 66 71 69 | 2900 | 4 | 3.0 | 78 | 80-100(I)A | 62.6 89 116 | 17.4 24.7 32.2 | 11 10 8.8 | 64 74 74 | 2900 | 4 | 4.5 | 87 |
| 65-160(I) | 35 50 65 | 9.72 13.9 18.1 | 35 32 28 | 63 71 70 | 2900 | 7.5 | 3.0 | 103 | 80-125(1) | 70 100 130 | 19.4 27.8 36.1 | 23.5 20 14 | 70 76 65 | 2900 | 11 | 4.5 | 163 |
| 65-160(1)A | 32.7 46.7 61 | 9.1 13.0 16.9 | 30.6 28 24 | 62 | 2900 | 5.5 | 3.0 | 103 | 80-125(1)A | 62.6 | 17.4 24.7 32.2 | 19 16 11 | 68 74 65 | 2900 | 7.5 | 4 5 | 113 |
| 65-160(I)B | 30.3 43.3 56.3 | 8.4 12.0 15.6 | 26 24 21 | 69 | 2900 | 4 | 3.0 | 97 | 80-160(1) | 70 | 19.4 27.8 36.1 | 36.5 32 24 | 70 76 65 | 2900 | 15 | 4.5 | 184 |
| 65-200(I) | 35 50 65 | 9.72 13.9 18.1 | 53.5 50 46 | 55 67 68 | 2900 | 15 | 3.0 | 176 | 80-160(I)A | 65.4 93.5 121.6 | 18.2 26.0 33.8 | 32 28 21 | 68 74 67 | 2900 | 11 | 4.5 | 174 |
| 65-200(I)A | 32.8 47 61 | 9.1 13.1 16.9 | 47 44 40 | 54 66 67 | 2900 | 11 | 3.0 | 166 | 80-160(1)B | 86.6 60.6 112.5 | 16.8 24.1 31.3 | 72 24 18 | 72 | 2900 | 7.5 | 4.5 | 174 |
| 65-200(I)B | 30.5 43.5 56.6 | 8.5 12.1 15.7 | 40.6 38 33.4 | 65 | 2900 | 7.5 | 3.0 | 114 | 80-200(1) | 70 100 130 | 19.4 27.8 36.1 | 54 50 42 | 65 74 73 | 2900 | 22 | 4.0 | 251 |
| 65-250(I) | 35 50 65 | 9.72 13.9 18.1 | 83 80 72 | 52 59 60 | 2900 | 22 | 3.0 | 235 | 80-200(1)A | 65.4 93.5 121.6 | 18.2 26.0 33.8 | 47.5 44 37 | 67 73 72 | 2900 | 18.5 | 4.0 | 220 |
| 65-250(I)A | 32.5 46.7 61 | 9.0 13.0 16.9 | 73 70 63 | 52 | 2900 | 18 5 | 3.0 | 205 | 80-200(1)B | 61 87 113 | 16.9 24.2 31.4 | 41 38 32 | 71 | 2900 | 15 | 4.0 | 198 |
| 型 号 | 流 量Q | 揚程 (m) | 效率 (%) | 轉 速 (r/min) | 電機 功率 (kw) | 必需汽 蝕餘量 (NPSH)r | 重量 (kg) | 型 号 | 流 量Q | 揚程 (m) | 效率 (%) | 轉 速 (r/min) | 電機 功牢 (kW) | 必需汽 蝕餘量 (NPSH)r | 重量 (kg) | ||
| (m3/h) | (L/s) | (m3/h) | (L/s) | ||||||||||||||
| 80-250(I) | 70 100 130 | 19.4 27.8 36.1 | 87 80 68 | 62 69 68 | 2900 | 37 | 4.0 | 330 | 100-350 | 60 100 120 | 16.7 27.8 33.3 | 153.6 150 142 | 72 57 74 | 2900 | 90 | 4.0 | 950 |
| 80-250(I)A | 65.4 93.5 121.6 | 18.2 26.0 33.8 | 76 70 59.5 | 61 68 67 | 2900 | 30 | 4.0 | 315 | 100-350A | 61 87 113 | 16.9 24.2 31.4 | 145.6 142 134 | 75 | 2900 | 75 | 4.0 | 830 |
| 80-250(I)B | 61 87 113 | 16.9 24.2 31.4 | 65 60 51 | 66 | 2900 | 22 | 4.0 | 315 | 100-350B | 58 82 107 | 16.1 22.8 29.7 | 138.6 135 127 | 75 | 2900 | 55 | 4.0 | 600 |
| 80-315(I) | 70 100 130 | 19.4 27.8 36.1 | 132 125 114 | 55 66 67 | 2900 | 75 | 4.0 | 675 | 125-100 | 96 160 192 | 26.7 44.4 53.3 | 13 12.5 12 | 82 | 2900 | 11 | 4.0 | 180 |
| 80-315(I)A | 66.5 95 123.6 | 18.5 26.4 34.3 | 119 113 103 | 55 66 67 | 2900 | 55 | 4.0 | 535 | 125-100A | 86 143 172 | 23.9 39.7 47.8 | 10.4 10 9.6 | 77 | 2900 | 7.5 | 4.0 | 125 |
| 80-315(I)B | 63 90 117 | 17.5 25 32.5 | 106.6 101 92 | 65 | 2900 | 45 | 4.0 | 420 | 125-125 | 96 160 192 | 26.7 44.4 53.3 | 22.6 20 17 | 80 | 2900 | 15 | 4.0 | 220 |
| 80-315(I)C | 58 82 107 | 16.1 22.8 29.7 | 90 85 76 | 63 | 2900 | 37 | 4.0 | 366 | 125-125A | 86 143 172 | 23.9 39.7 47.8 | 18 16 13.6 | 77 | 2900 | 11 | 4.0 | 210 |
| 100-100 | 70 100 130 | 19.4 27.8 36.1 | 13.6 12.5 11 | 66 76 75 | 2900 | 5.5 | 4.5 | 113 | 125-160 | 96 160 192 | 26.7 44.4 53.3 | 36 32 28 | 78 | 2900 | 22 | 4.0 | 265 |
| 100-100A | 62.6 89 116 | 17.4 47 32.2 | 11 10 8.8 | 64 74 74 | 2900 | 4 | 4.5 | 91 | 125-160A | 90 150 180 | 25 41.7 50 | 31.5 28 24.5 | 76 | 2900 | 18 5 | 4.0 | 230 |
| 100-125 | 70 100 130 | 194 27 8 361 | 23.5 20 14 | 70 76 65 | 2900 | 11 | 4.5 | 169 | 125-160B | 83 138 166 | 21.7 38.3 46.1 | 27 24 21 | 73 | 2900 | 15 | 4.0 | 215 |
| 100-125A | 62.6 89 116 | 17.4 24.7 32.2 | 19 16 11 | 68 74 63 | 2900 | 7.5 | 4.5 | 118 | 125-200 | 96 | 26.7 44.4 53.3 | 55 50 46 | 77 | 2900 | 37 | 5.5 | 395 |
| 100-160 | 70 100 130 | 19.4 27.8 36.1 | 36.5 32 24 | 70 76 65 | 2900 | 15 | 4.5 | 191 | 125-200A | 90 150 180 | 25 41.7 50 | 48.4 44 40.5 | 76 | 2900 | 30 | 5.5 | 380 |
| 100-160A | 65.4 93.5 121.6 | 18.2 26.0 33.8 | 32 28 21 | 68 74 67 | 2900 | 11 | 4.5 | 181 | 125-200B | 83 138 166 | 21.7 38.3 46.1 | 41.3 37.5 34.5 | 75 | 2900 | 22 | 5.5 | 320 |
| 100-160B | 60.6 86.6 112.5 | 16.8 24.1 31.3 | 27 24 18 | 72 | 2900 | 7.5 | 4.5 | 181 | 125-250 | 96 160 192 | 26.7 44.4 53.3 | 87 80 73 | 75 | 2900 | 55 | 5.0 | 580 |
| 100-200 | 70 100 130 | 19.4 27.8 36.1 | 54 50 42 | 65 74 73 | 2900 | 22 | 4.0 | 245 | 125-250A | 90 150 180 | 25 41.7 50 | 76 70 84 | 74 | 2900 | 45 | 5.5 | 490 |
| 100-200A | 65.4 93.5 121.6 | 18.2 26.0 33.8 | 47.5 44 37 | 64 73 72 | 2900 | 18.5 | 4.0 | 215 | 125-250B | 83 138 166 | 21.7 38.3 46.1 | 65 60 55 | 73 | 2900 | 37 | 5.5 | 430 |
| 100-200B | 61 87 113 | 16.9 24.2 31.4 | 41 38 32 | 71 | 2900 | 15 | 4.0 | 193 | 125-315 | 96 160 192 | 26.7 44.7 53.3 | 133 125 119 | 70 | 2900 | 90 | 5.0 | 790 |
| 100-250 | 70 100 130 | 19.4 27.8 36.1 | 87 80 68 | 62 69 68 | 2900 | 37 | 4.0 | 345 | 125-315A | 90 150 180 | 25 41.7 50 | 117 110 104.6 | 70 | 2900 | 75 | 5.0 | 710 |
| 100-250A | 65.4 93.5 121.6 | 18.2 26.0 33.8 | 76 70 59.5 | 61 68 67 | 2900 | 30 | 4.0 | 330 | 125-315B | 86 143 172 | 23.9 39.7 47.8 | 106.4 100 95.2 | 69 | 2900 | 75 | 5.0 | 705 |
| 100-250B | 61 87 113 | 16.9 24.2 31.4 | 65 60 51 | 66 | 2900 | 22 | 4.0 | 330 | 125-315C | 80.5 134 161 | 22.4 37.2 44.7 | 96 88 86 | 67 | 2900 | 55 | 5.0 | 585 |
| 100-315 | 70 100 130 | 19.4 27.8 36.1 | 132 | 55 66 67 | 2900 | 75 | 4.0 | 689 | 150-125 | 96 160 192 | 26.7 44.4 53.3 | 22.6 24 17 | 66 76 76 | 2900 | 11 | 4.0 | 210 |
| 100-315A | 66.5 95 123.6 | 18.5 26.4 34.3 | 119 113 103 | 65 66 67 | 2900 | 55 | 4.0 | 549 | 150-125A | 90 150 180 | 25 41.7 50 | 18 16 13.6 | 77 | 2900 | 7.5 | 4.0 | 130 |
| 100-315B | 63 90 117 | 17.5 25 32.5 | 106.6 101 92 | 65 | 2900 | 45 | 4.0 | 439 | 150-160 | 96 160 192 | 26.7 44.3 | 36 32 27 | 75 | 2900 | 22 | 4.0 | 270 |
| 100-315C | 58 82 107 | 16.1 22.8 29.7 | 90 85 76 | 63 | 2900 | 37 | 4.0 | 385 | 150-160A | 90 150 180 | 25 41.7 50 | 32 28 23.5 | 76 | 2900 | 18.5 | 4.0 | 230 |
| 100-100(I) | 96 160 192 | 26.7 44.4 53.3 | 14 12.5 10 | 64 73 70 | 2900 | 11 | 4.5 | 115 | 150-160B | 84 140 168 | 23.3 39 46.7 | 27 24 21 | 73 | 2900 | 15 | 4.0 | 220 |
| 100-125(I) | 96 160 192 | 26.7 44.4 53.3 | 24 20 14 | 62 74 69 | 2900 | 15 | 4.5 | 168 | 150-200 | 140 200 260 | 38.9 55.6 72.2 | 13.8 12.5 10.6 | 68 78 78 | 1450 | 15 | 3.0 | 265 |
| 100-125(I)A | 84 140 168 | 23.3 39 46.7 | 20 17 12 | 64 72 68 | 2900 | 11 | 4.5 | 168 | 150-200A | 125 176 232.5 | 34.7 49.7 64.6 | 11 10 8.5 | 66 76 76 | 1450 | 11 | 3.0 | 244 |
| 100-160(I) | 96 160 192 | 26.7 44.4 53.3 | 36 32 27 | 69 79 75 | 2900 | 22 | 5.6 | 210 | 150-200B | 84 140 168 | 23.3 | 41 38 34 | 75 | 2900 | 22 | 4.0 | 275 |
| 100-160(I)A | 84 140 168 | 23.3 39 46.7 | 32 28 23.5 | 66 76 72 | 2900 | 18 5 | 5.0 | 210 | 150-250C | 140 200 260 | 38.9 55.6 72.2 | 21.8 20 1.7 | 73 79 77 | 1450 | 18.5 | 3.0 | 300 |
| 100-200(I) | 96 160 192 | 26.7 | 53 50 45 | 69 79 78 | 2900 | 37 | 5.2 | 402 | 150-250A | 129 184.4 240 | 35.8 51.2 66.7 | 18.5 17 14.4 | 72 78 76 | 1450 | 15 | 3.0 | 262 |
| 100-200(I)A | 84 | 23.3 39 46.7 | 48 45 40 | 64 74 73 | 2900 | 30 | 4.5 | 395 | 150-250B | 117 167 217.5 | 32.5 46.4 60.4 | 15.2 14 12 | 76 | 1450 | 11 | 3.0 | 241 |
| 100-200(I)B | 60 100 120 | 16.7 27.8 33.3 | 43 40 36 | 72 | 2900 | 22 | 4.5 | 360 | 150-315 | 140 200 260 | 38.9 55.6 72.2 | 33.8 32 28 | 70 78 73 | 1450 | 30 | 2.5 | 410 |
| 100-250(I) | 96 160 192 | 26.7 44.4 53.3 | 83 80 72 | 65 77 74 | 2900 | 55 | 4.8 | 560 | 150-315A | 131 187 243 | 36.4 51.9 67.5 | 29.5 28 24.5 | 69 77 77 | 1450 | 22 | 3.5 | 335 |
| 100-250(I)A | 84 140 168 | 23.3 39 46.7 | 75 72 65 | 60 72 69 | 2900 | 45 | 4.5 | 420 | 150-315B | 121 173 225 | 33.5 48.1 62.5 | 25 24 21 | 76 | 1450 | 18.5 | 3.5 | 315 |
| 100-250(I)B | 60 100 120 | 16.7 27.8 33.3 | 68 65 58 | 70 | 2900 | 37 | 4.5 | 400 | 150-350C | 96 160 192 | 26.7 44.4 53.3 | 153.6 150 142.8 | 80 | 2900 | 110 | 5.5 | 970 |
| 型 号 | 流 量Q | 揚 程 (m) | 效 率 (%) | 轉 速 (r/min) | 電 機 功 率 (kW) | 必需汽 蝕餘量 (NPSH)r | 最 重 (kg) | |
| (m3/h) | (L/s) | |||||||
| 150-350A | 90 150 180 | 25 41 7.50 | 145.6 142 134.8 | 70 | 2900 | 90 | 5.2 | 790 |
| 150-350B | 84 140 168 | 23.3 39 46.7 | 138.6 135 127.8 | 65 76 74 | 2900 | 75 | 5 5 | 705 |
| 150-400 | 140 200 260 | 38.9 55.6 72.2 | 53 50 44 | 68 75 71 | 1450 | 45 | 3.5 | 490 |
| 150-400A | 131 187 243 | 36.4 51.9 67.5 | 46.6 44 38.3 | 67 74 70 | 1450 | 37 | 3.5 | 454 |
| 150-400B | 122 174 226.5 | 33.9 48.3 62.9 | 40 38 33 | 73 | 1450 | 30 | 3.5 | 435 |
| 150-400C | 112 160 208 | 31.1 44.4 57.8 | 34 32 28 | 71 | 1450 | 22 | 3.5 | 365 |
| 150-250(I) | 120 200 240 | 33.3 55.6 66.7 | 87 80 72 | 65 76 74 | 2900 | 75 | 4.5 | 702 |
| 150-250(I)A | 112 187 224 | 31.1 51.9 62.2 | 76 70 63 | 64 75 73 | 2900 | 55 | 4.5 | 561 |
| 150-250(I)B | 104 173 208 | 28.9 48.1 57.8 | 65 60 54 | 63 74 72 | 2900 | 45 | 4.5 | 460 |
| 150-315(I) | 120 200 240 | 33.3 55.6 66.7 | 133 125 120 | 58 73 75 | 2900 | 110 | 4.5 | 980 |
| 150-315(I)A | 112 187 224 | 31.1 51.9 62.2 | 116 110 105 | 57 72 74 | 2900 | 90 | 4.5 | 800 |
| 150-315(I)B | 104 173 208 | 28.9 48.1 57.8 | 100 95 91 | 55 70 72 | 2900 | 75 | 4.5 | 724 |
| 200-200 | 140 200 260 | 38.9 55.6 72.2 | 13.8 12.5 10.6 | 68 78 78 | 1450 | 15 | 3.0 | 265 |
| 200-200A | 125 179 232.5 | 34.7 49.7 64.6 | 11 10 8.5 | 66 76 76 | 1450 | 11 | 3.0 | 244 |
| 200-250 | 140 200 260 | 38.9 55.6 72.2 | 21.8 20 17 | 73 79 77 | 1450 | 18.5 | 3.0 | 305 |
| 200-250A | 129 184.4 240 | 35.8 51.2 66.7 | 18.5 17 14.4 | 72 78 76 | 1450 | 15 | 3 0 | 267 |
| 200-250B | 117 167 217.5 | 32.5 46.4 60.4 | 15.2 14 12 | 76 | 1450 | 11 | 3.0 | 246 |
| 200-315 | 140 200 260 | 38.9 55.6 72.2 | 33.8 32 28 | 70 78 78 | 1450 | 30 | 3.5 | 417 |
| 200-315A | 131 189 243 | 36.4 51.9 67.5 | 29.5 28 24.5 | 69 77 77 | 1450 | 22 | 3.5 | 342 |
| 200-315B | 121 173 225 | 33.6 481 62.5 | 25 24 21 | 76 | 1450 | 18.5 | 3.5 | 322 |
| 200-400 | 140 200 260 | 38.9 55.6 72.2 | 53 50 44 | 68 75 71 | 1450 | 45 | 3.5 | 498 |
| 200-400A | 131 187 243 | 36.4 51.9 67.5 | 46.6 44 38.3 | 67 74 70 | 1450 | 37 | 3.5 | 462 |
| 200-400B | 122 174 226.5 | 33.9 48.6 62.9 | 40 38 33 | 73 | 1450 | 30 | 3.5 | 443 |
| 200-400C | 112 160 208 | 31.3 44.4 57.8 | 34 32 28 | 71 | 1450 | 22 | 3.5 | 373 |
| 200-200(I) | 280 400 520 | 77.8 111.1 144 | 13.4 12.5 10.5 | 70 80 79 | 1450 | 22 | 4.0 | 382 |
| 200-200(I)A | 250 358 465 | 69.4 99.4 129.2 | 10.7 10 8.5 | 68 78 77 | 1450 | 18.5 | 4.0 | 346 |
| 200-250(I) | 280 400 520 | 77.8 111.4 144 | 22.2 20 14 | 75 80 72 | 1450 | 30 | 4.0 | 475 |
| 200-250(I)A | 250 358 465 | 69.4 99.6 129.2 | 18 14 11.2 | 73 78 70 | 1450 | 22 | 4 0 | 405 |
| 200-250(I)B | 226 322 419 | 62.8 89.4 116.4 | 14.4 13 7.3 | 70 75 67 | 1450 | 18.5 | 4.0 | 387 |
| 200-315(I) | 280 400 520 | 77.8 111.4 144 | 36 32 26 | 73 80 75 | 1450 | 55 | 4.0 | 675 |
| 200-315(I)A | 262 374 486 | 72.8 103.9 135 | 31.5 28 23 | 72 79 74 | 1450 | 45 | 4.0 | 560 |
| 200-315(I)B | 242 346 450 | 67.2 961 125 | 27 24 19.5 | 78 | 1450 | 37 | 4.0 | 535 |
| 200-400(I) | 280 400 520 | 77.8 111.4 144 | 11.5 50 39 | 75 81 77 | 1450 | 75 | 4.0 | 830 |
| 200-400(I)A | 262 374 486 | 72.8 103.9 135 | 48 44 34 | 80 | 1450 | 75 | 4.0 | 830 |
| 200-400(1)B | 242 346 450 | 67.2 96.1 125 | 41.4 38 29.6 | 78 | 1450 | 55 | 5.0 | 685 |
| 200-400(I)C | 224 320 416 | 62.2 88.9 115.6 | 34.9 32 25 | 76 | 1450 | 45 | 5.0 | 5 |
在線留言
掃碼加微信
服務電話:
4008677388
上海市金山區漕泾鎮月工路188号
021-51601506
021-51601532